据外媒报道,摩根大通今日发布投资研究报告称,受新冠病毒疫情的影响,今年苹果iPhone手机的销量同比将下滑10%。
据报道,苹果公司获得了一项新专利,暗示该公司将推出一款可折叠设备。
根据专利描述,这项技术允许用户触摸设备的多个部分,而不仅仅是屏幕,以实现一些功能。例如,用户可以触摸设备的侧面来控制摄像头,苹果将其描述为“虚拟快门按钮”。此外,用户还可以在设备一侧上下滑动手指来控制音量。
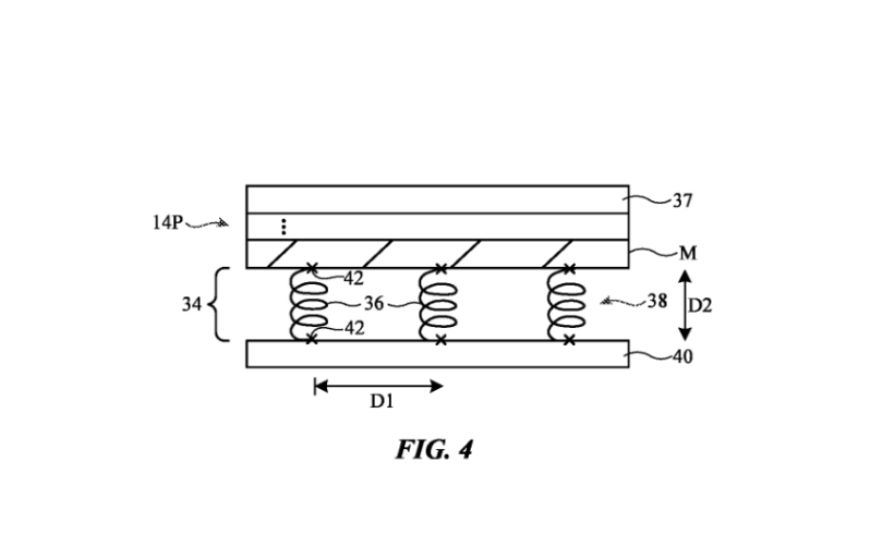
而且,专利描述中还包含一张图像,是一张可折叠的手机或平板电脑的图纸,该手机或平板电脑带有“环绕式”屏幕(即可折叠)。

与三星等竞争对手不同,苹果到目前为止尚未推出可折叠屏 iPhone 或其他任何设备。但一些分析师预测,苹果将在不远的将来发布这样一款设备。而这一次获得的新专利,进一步提高了人们的这种期待。

瑞银分析师在一份报告中称,这项专利可能表明,苹果将推出一款可折叠设备,但不是今年。瑞银认为,可折叠屏幕将提升未来 iPhone 的市场需求。瑞银分析师在报告中称:“我们认为,可折叠屏 iPhone 将推动消费者的购买率和升级率。”
当前,可折叠屏手机只占整个智能手机就市场的一小部分。IDC 数据显示,2022 年可折叠屏手机仅占智能手机总出货量的 1.1%。

在过去的几个月里,一些分析师预测,苹果可能会推出某种可折叠的设备,但应该不是 iPhone。因为对于 iPhone,苹果并不急于迎合某种新趋势,而是要等待技术成熟。
为此,市场研究公司 CCS Insight 预计,苹果将在 2024 年率先推出折叠屏 iPad。因为目前推出可折叠 iPhone 并没有太大的意义,苹果会避开这一趋势,率先用 iPad 试水。

此外,知名苹果分析师郭明錤也预计,苹果将在 2024 年发布可折叠屏 iPad。
特别声明:本文版权归文章作者所有,仅代表作者观点,不代表爱思助手观点和立场。本文为第三方用户上传,仅用于学习和交流,不用于商业用途,如文中的内容、图片、音频、视频等存在第三方的知识产权,请及时联系我们删除。